REINO UNIDO
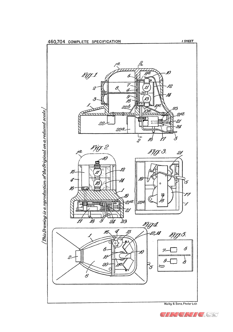
Los hermanos Nicolau presentaron la patente del NIC en 1932 en el Reino Unido


Pero no se llegaron a producir, y los proyectores de imágenes alternas hicieron su entrada en Inglaterra a partir de la patente de Mario Sassoli (la misma que la del alemán Dux) con el nombre de Baby Movie



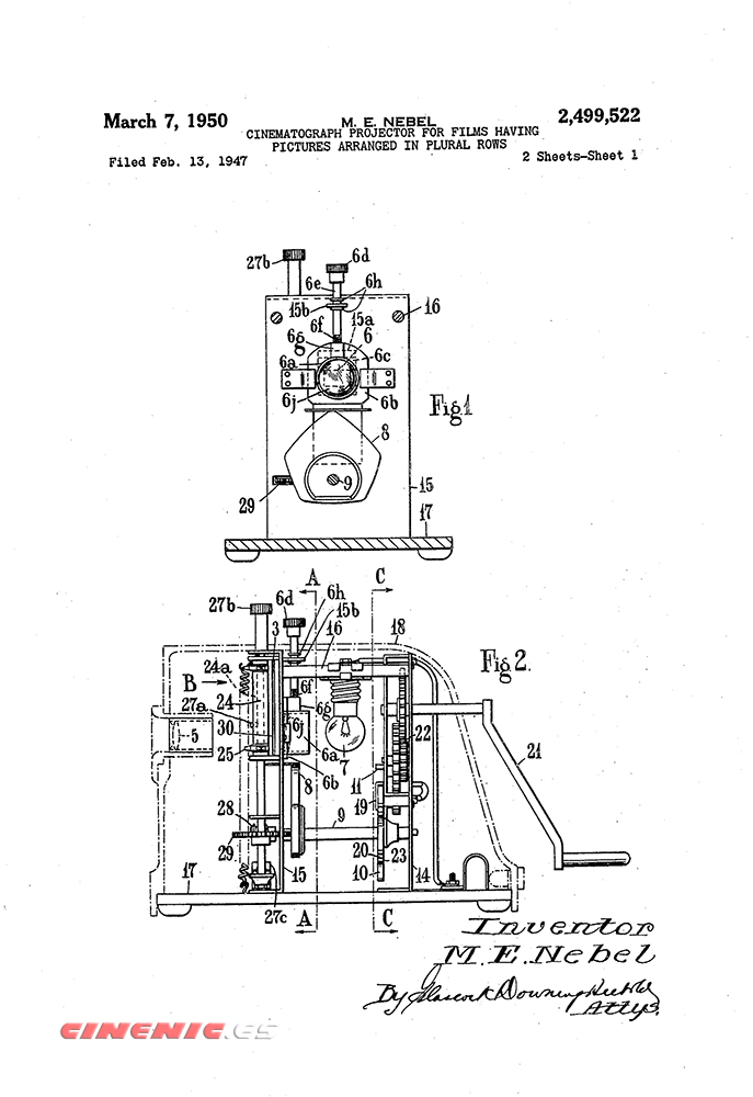
Otro modelo basado en los mismos principios aparecerá en 1950: El Minicine, con patente a nombre de Miguel Nebel, un inventor uruguayo al parecer, y que aparece asociado en varias patentes a Sassoli en la década de los 30. Este Miguel Nebel presentará posteriormente a estas colaboraciones multitud de patentes en solitario, siendo la del "minicine" la que más éxito tuvo. Esta es su versión de los proyectores de imagenes alternas, y como se enlazan (via Mario Sassoli) con los cines NIC


La diferencia esencial con los proyectores aparecidos hasta el momento es que presenta tiras de películas con 4 líneas de imágenes, y que la sucesión de estas no se produce por el movimiento de un obturador ni del juego de lentes (como en los modelos de Payá), sino que es el bastidor en el que va montada la película el que se desplaza ante las lentes de proyección. Este hecho permite también detener el cuadro a la perfección, por lo que fué utilizado para films pedagogicos, y además produce un movimiento más fluido de las imagenes


Este dispositivo se customizará para Disney en el modelo Disney Movie

A partir de 1954, llegará el Superminicine

Y Sobre las películas, hay muchas de ellas marcada como “dirigidas” (sic) por Enid Blyton (1897-1968), autora de series como “Los cinco”, “Los siete secretos”...

|