ESTADOS UNIDOS
En 1932 el cine NIC llega a USA, a traves de la patente pertinente, concedida a favor de la Nic Projector Company, 54 Greene St. de New York. Se trata del modelo 100, fabricado en madera y cartón, idéntico al español


En 1934 aparece el modelo NIC 200 metálico...




y más tarde la versión sonora, que al igual que en el modelo español, consiste en añadir al proyector el mecanismo (plato y brazo) de un pequeño gramófono

El siguiente aparato comercializado, también a partir de 1934 es el más distinto en su estética (el mecanismo resulta invariable) y es el NIC500


Al que se añadirá (como no) el correspondiente suplemento sonoro, el NIC 600

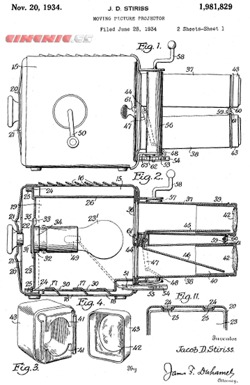
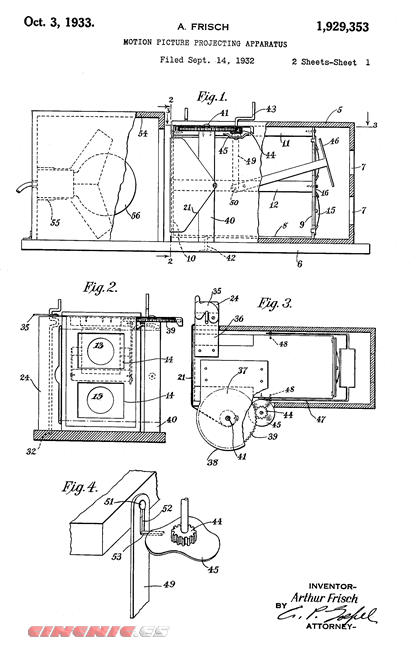
Sobre las mismas fechas aparece el Movie-Jektor, del que podeis ver la patente del "inventor" Arthur Frisch y que es una copia descarada del mecanismo del NIC, pero que "coló" en la Unitaed States Patent Office
en 1933


El siguiente de los modelos es el Mickey Mouse Movie Jecktor de 1935, con licencia de Walt Disney. De construcción más elaborada y mejores materiales, pero sin variaciones importantes de diseño. Comienza el merchandising¡¡


Por supuesto, aparecerá una versión sonora del modelo...

Por último, tenemos el Uncle Sam's Movie Projector, de Durotone, también de las mismas fechas (1934). La variedad de modelos y fabricantes en los primeros años de la llegada del NIC a EEUU nos da idea del éxito que represento el proyector...




Paralelamente a estos modelos, en 1950 apareció el DISNEYLAND PROJECTOR, bajo patente de Enrique Nebel; un aparato de proyeccción de imágenes alternas, pero de 4 tiras de imágenes, como los modelos Minicine y Superminicine, patentados en Inglaterra.

|